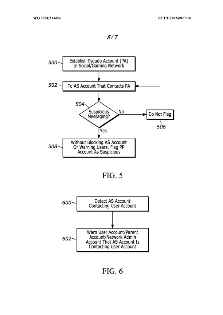
近年網路騷擾、惡意攻擊等不當行為在電子遊戲中變得愈發普遍。為此,索尼的新專利曝光了它們的改善方法 : 利用人工智慧技術運行假帳號。透過人工智慧模仿未成年人在網路上的互動方式,當犯罪者和惡意人士自己做出惡意行為,使得系統可以標記他們。
專利資訊顯示,當騷擾者與這些偽裝帳號互動時,整個過程會被監控並標記出來,但不會讓真實用戶面臨暴露風險。透過這種方式,有助管理平台的惡意行為。
然而,索尼的這一系統的應用不僅限於保護未成年人。雖然其主要目的是透過「誘餌帳號」來吸引針對未成年人的騷擾者,但該系統的更廣泛設計也可以識別和阻止惡意行為,例如騷擾或霸凌。
系統可以透過監控玩家行為,識別有害行為的模式,進行標記,以免出現更現實和嚴重的威脅。











