近十年來AI和遊戲技術快速發展,遊戲公司也在爭相申請最瘋狂的專利創意。現在索尼的一項新專利,可能將徹底改變我們所知的遊戲開發。
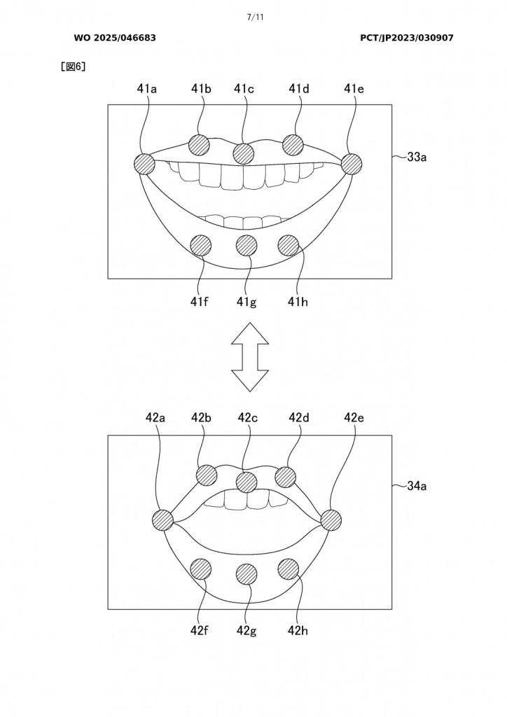
近日索尼公佈了一項新專利,其描述了一套面向遊戲NPC的次世代唇形同步系統,能輕鬆實現多語言版本下譯製台詞與嘴部動作的匹配。
這套系統能評估NPC嘴部動作在所有支持語言中的表現效果,並為開發者產生相似度評分供開發參考。同時也包含自動化修復方案,透過動態調節譯製語音時長與角色下顎運動軌跡,精準對齊原始台詞時序節奏。
索尼稱NPC口型與在地化語音的錯位會破壞沉浸感,讓玩家失望。傳統手動調整方式費時費力,而該技術將把開發團隊從重複勞動中解放出來。若該技術最終落地應用,可能會顯著縮短遊戲開發時間。










